Магнитное поле в среде. Граничные условия

Краткая теория

В рамках курса "Электричество и магнетизм" магнетик – это среда, содержащая большое число магнитных диполей (молекул в виде "колечек с током", обладающих ненулевым магнитным дипольным моментом или приобретающих его во внешнем магнитном поле). Эти диполи лишены поступательных степеней свободы, но вращательные у них имеются. В отсутствие внешнего магнитного поля диполи ориентированы случайно. При наложении внешнего поля диполи поворачиваются, приобретая преимущественную ориентацию. В результате к внешнему полю добавляется поле диполей. Определение полного поля составляет задачу магнитостатики в магнетиках. При этом подразумевается поле в макроскопическом смысле, то есть усредненное по физически бесконечно малым элементам объема и, таким образом, не зависящее от микроскопических колебаний плотности тока, связанных с молекулярным строением вещества. Другими словами, дополнительное поле рассчитывается в приближении сплошной среды.

В случае однородного магнетика даже выстроенные по внешнему полю диполи не приводят к появлению объемной плотности тока, поскольку для любой площадки в объеме число кольцевых токов, втекающих и вытекающих из нее, одинаково. Нескомпенсированный ток возможен только на границе магнетика, где он характеризуется поверхностной плотностью. Поэтому дополнительное поле можно свести к действию только поверхностных токов, что технически значительно проще, чем рассчитывать интегральное поле диполей по всему объему магнетика.

Токи в магнетике могут формироваться как за счет молекул самого магнетика, так и посторонними источниками (например, из внешнего источника тока). Токи первого типа называются молекулярными, второго – немолекулярными или, что то же, токами проводимости.

Уравнение Максвелла в форме \begin{equation}\label{equat1} \text{rot} \vec{B}=\frac{4\pi}{c}(\vec{j}+\vec{j}_{мол}) \end{equation} указывает на связь макроскопического поля с плотностью как токов проводимости ($\vec{j}$), так и молекулярных токов ($\vec{j}_{мол}$). Поскольку последняя a priori не известна, вводится вспомогательная векторная величина $\vec{H}$, называемая напряженностью магнитного поля, для которой выполняется соотношение \begin{equation}\label{equat2} \text{rot} \vec{H}=\frac{4\pi}{c}\vec{j}, \end{equation} т. е. $\text{rot} \vec{H}$ не зависит от плотности молекулярных токов.

Из уравнения \eqref{equat2} следует граничное условие на тангенциальные компоненты $\vec{H}$: \begin{equation}\label{equat3} H_{\tau 2}-H_{\tau 1}=\frac{4\pi}{c} J, \end{equation} где $J$ – поверхностная плотность токов проводимости.

Оказывается, в изотропных магнетиках векторы $\vec{H}$ и $\vec{B}$ связаны простым соотношением: $$ \vec{B}=\mu \vec{H}, $$ где $\mu$ – магнитная проницаемость среды.

Из уравнения Максвелла $$ \text{div}\vec{B}=0 $$ следует граничное условие на нормальные компоненты $\vec{B}$: \begin{equation}\label{equat4} B_{n2}-B_{n1}=0. \end{equation}

Обычно общий вид поля в среде удается угадать, а граничные условия \eqref{equat3} и \eqref{equat4} позволяют найти неопределенные коэффициенты. Если одно из граничных условий оказывается неинформативным, то можно попытаться получить недостающую информацию из теоремы Стокса, записанной для вектора $\vec{H}$: $$ \oint (\vec{H}\cdot \vec{l})=\frac{4\pi}{c} I, $$ где $I$ – полный ток проводимости через любую поверхность, натянутую на контур $l$. Контур $l$ при этом требуется выбрать подходящим образом.

Задача №554

Точечный диполь с магнитным моментом $\vec{m}$ расположен на границе раздела двух сред с магнитными проницаемостями $\mu_1$ и $\mu_2$ так, что его магнитный момент параллелен плоскости границы. Найти вектор магнитной индукции $\vec{B}(\vec{r})$ во всем пространстве. Начало системы координат совпадает с положением диполя (см. рис.).

Показать решение

Задача №553

Найти индуктивность длинного соленоида круглого сечения радиуса $a$, с равномерной намоткой плотности $n$, длины $l\gg a$, если магнитная проницаемость его сердечника меняется по закону $\mu(R) = 1 + \frac{R}{a}$, где $R$ – расстояние от оси соленоида.

Показать решение

Задача №499

Конец полубесконечного соленоида сечением $S$, с равномерной намоткой плотности $n$, по которой течёт постоянный ток $I$, расположен на расстоянии $h>>\sqrt{S}$ от плоской границы сверхпроводника. Найти распределение токов на поверхности сверхпроводника.

Показать решение

Задача №497

По замкнутому сверхпроводящему соленоиду радиуса $a$ с сердечником радиуса $b < a$ (на всю длину соленоида) и магнитной проницаемостью $\mu$ течет ток $I$. Каким станет ток, если сердечник вынуть? Краевыми эффектами на торцах соленоида пренебречь.

Показать решение

Задача №469

Ось полубесконечного соленоида с током $I$ и плотностью намотки $n$ перпендикулярна плоской границе раздела двух сред с магнитными проницаемостями $\mu_1$ и $\mu_2$, а торец соленоида находится на границе. Внутри соленоида среда с $\mu_1$. Найти магнитное поле $\vec{B}(\vec{r})$ в обеих средах на большом расстоянии $r$ от торца ($\gg \sqrt{S}$, где $S$ – площадь сечения соленоида).

Показать решение

Задача №468

Шар радиуса $a$ с магнитной проницаемостью $\mu=\const$, заряженный равномерно по поверхности суммарным зарядом $Q$, вращается с угловой скоростью $\omega \vec{e}_z$, относительно оси, проходящей через центр шара. Найти поле $\vec{B}$ внутри и снаружи шара.

Показать решение

Задача №467

Внутри длинного соленоида радиуса $a$ с равномерной намоткой, по которой течет постоянный ток, находится соосный с ним сердечник той же длины радиуса $b,\, (b < a)$ с магнитной проницаемостью $\mu$. Чему равно отношение $W_с/W$ магнитной энергии, сосредоточенной в сердечнике, к полной магнитной энергии?

Показать решение

Задача №386

Два одинаковых соосных кольца радиуса $R$, находятся на расстоянии $l$ друг от друга. Найти изменение их взаимной индуктивности $\Delta L_{12}$ если на оси между кольцами посередине поместить шарик радиуса $a\ll l,R$ с магнитной проницаемостью $\mu$.

Показать решение

Задача №384

В воздухе ($\mu_в = 1$) над плоской границей раздела ''воздух-сверхпроводник'' расположена непроводящая спица, на концах которой находятся одинаковые по модулю и разные по знаку заряды. Один конец спицы вращают вокруг другого со скоростью $v \, (v\ll c)$. Найти, каким будет относительное изменение ($\Delta F/F$) силы притяжения спицы к сверхпроводнику, если спицу остановить? Расстояние от спицы до границы раздела много больше длины спицы. Потерями энергии на излучение пренебречь.

Показать решение

Задача №383

Вдоль оси длинного полого цилиндрического проводника радиуса $a$ течет ток $I$, равномерно распределенный по поверхности. Ось проводника лежит на плоской границе двух сред с магнитными проницаемостями $\mu_1$ и $\mu_2$, а пространство внутри проводника заполнено воздухом. Найти распределение молекулярных токов $J_{мол}$ на границе проводника и магнетиков.

Показать решение

Задача №337

По проводящей плоскости течет ток с линейной плотностью $\vec{i}=i_0\sin kx \cdot \vec{e}_z$. Найти магнитное поле во всем пространстве.

Показать решение

Задача №333

По цилиндрической катушке сечением $S$ и длиной $L$ с плотностью намотки $n$, в которую вставлен сердечник того же сечения длиной $l$ с $\mu = 2$ $(\sqrt{S} \ll l < L)$, течет переменный ток $I = I_0\cos \omega t$. На большом расстоянии $r$ от катушки $(r\gg L)$ расположен точечный заряд $q$. Радиус-вектор заряда образует угол $\theta$ с осью катушки. Найти: а) магнитный дипольный момент системы, б) вектор-потенциал магнитного поля в точке нахождения заряда и в) силу, действующую на заряд.

Показать решение

Задача №224

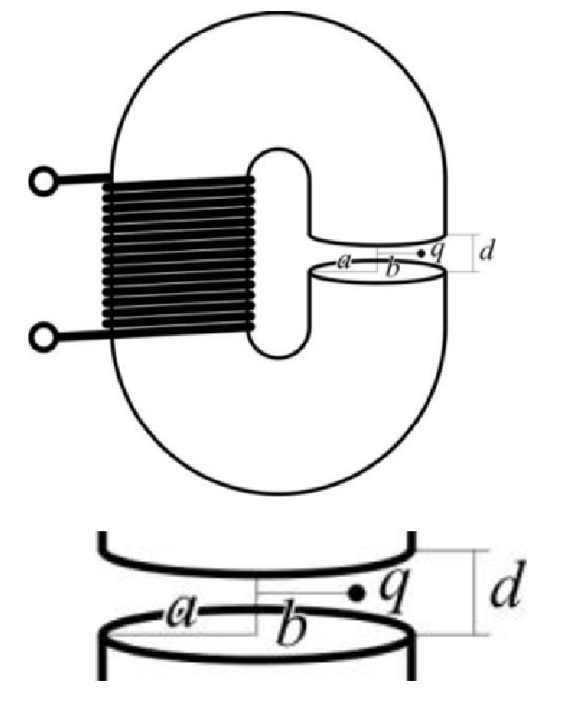
Электромагнит представляет собой С-образный магнитопровод ($\mu\gg 1$) постоянного кругового сечения с радиусом $a$, на который намотан соленоид из $N$ витков. Длина магнитопровода $l$, зазор между полюсами $d\ll a\ll l$. На расстоянии $b < a$ от оси, соединяющей центры полюсов, находится неподвижный точечный заряд $q$. В соленоиде течет переменный ток $I=I_0 \cos(\omega t)$. Найти силу $\vec{F}(t)$, действующую на заряд.

Показать решение

Задача №184

Найти взаимную индуктивность (коэффициент взаимоиндукции) двух плоских витков произвольной формы, помещенных на плоскую границу раздела двух магнетиков с проницаемостями $\mu_1$ и $\mu_2$, если в вакууме она была равна $L_{12}$.

Показать решение

Задача №182

Бесконечная по оси $z$ полость (см. рисунок) образована стенками прямого двухгранного угла и цилиндрической поверхностью $\Gamma$ с сечением в виде гиперболы $x\cdot y=a_0^2$ $(a_0=\text{const})$. Полость содержит магнитное поле $\vec{B}(x,y)$=$\text{rot}\vec{A}$, где $\vec{A}(x,y)=A(x,y)\vec{e_z}$. На границах полости $\vec{A}(x,y)$ имеет постоянные значения: $A|_{x=0}=A|_{y=0}=0,\; A|_{\Gamma}=A_0$. Найти: а) распределение поля $\vec{B}(x,y)$ в полости (2 б); б) распределение тока на границе $\Gamma$ в виде $\vec{i}=i_z(x,y)\vec{e_z}$, считая, что магнитное поле вне полости равно нулю (2 б).

Показать решение

Задача №160

Бесконечный соленоид кругового сечения с током $I$ в витке и числом витков на единицу длины $n$, заполнен составной намагничивающейся средой с магнитными проницаемостями $\mu_1$, $\mu_2$ (на рисунке показано поперечное сечение соленоида). Найти поля $H_{1,2}$, $B_{1,2}$ внутри соленоида и распределение молекулярных токов.

Показать решение

Задача №135

В пространстве, разделенном двумя перпендикулярными плоскостями на четыре части, создано магнитное поле, по модулю равное $B_0$, направление указано на рисунке, угол между направлением поля и осями X и Y 45$^{\circ}$. В каждой четверти пространства магнитное поле однородно. Определить систему токов, создающих данное магнитное поле.

Показать решение

Задача №134

В пространстве, разделенном двумя перпендикулярными плоскостями на четыре части, создано магнитное поле, по модулю равное $B_0$, направление указано на рисунке, угол между направлением поля и осями X и Y 45$^{\circ}$. В каждой четверти пространства магнитное поле однородно. Определить систему токов, создающих данное магнитное поле.

Показать решение

Задача №114

Две параллельные нити с токами, равными $J$, расположены симметрично относительно оси цилиндра из магнетика с $\mu<1$, имеющего радиус $a$. Найти расстояние между нитями $x$ ($x>2a$), при котором силы, действующие на них, равны нулю.

Показать решение

Задача №111

Сверхпроводящий шар радиуса $R$ делится пополам плоской границей раздела двух сред с магнитными проницаемостями $\mu_1$ и $\mu_2$. В среде с $\mu_1$ далеко от границы задано однородное магнитное поле $\vec{H}_0$, направленное перпендикулярно границе раздела. Найти $\vec{B}$ и $\vec{H}$ во всем пространстве, а также линейную плотность тока на поверхности сверхпроводника.

Показать решение

Задача №104

Тонкое проводящее кольцо, обладающее в вакууме индуктивностью $L_0$, поместили в магнетик. Магнетик состоит из трех областей, границы между которыми образуют три двугранных угла $\alpha_1, \alpha_2, \alpha_3$ ($\alpha_1+\alpha_2+\alpha_3=2\pi$), исходящих из общей прямой, совпадающей с осью кольца. Магнитные проницаемости в каждой области равны $\mu_1, \mu_2, \mu_3$ соответственно. Найти индуктивность $L$ кольца с учетом среды.

Показать решение

Задача №103

Круговое кольцо с током наполовину погружено в полупространство, заполненное магнетиком с $\mu_2>1$, как показано на рисунке. Найти поля $\vec{B}_{1,2}$ в областях 1, 2, считая поле от данного кольца с током в вакууме известным ($\vec{B}=\vec{B}_0(\vec{r})$) (2 б). Выяснить, где протекают молекулярные токи и как определить их интенсивность (2 б).

Показать решение

Задача №102

Дно и крышка проводящей тонкостенной цилиндрической банки посередине соединены прямым проводом, по которому идет постоянный ток $I$. Пользуясь цилиндрическими координатами $r$, $\alpha $, $z$, получить:
1) распределение поверхностной плотности тока по всем элементам замкнутой поверхности (1 б);
2) граничные условия для $B_{r}$, $B_{\mathrm{\alpha }}$ и $B_{z}$ на этих элементах (2 б);
3) поля $\vec{B}_{\mathrm{1,2}}$ внутри и вне банки (2 б).

Показать решение

Задача №100

По бесконечно длинному соленоиду с плотностью намотки $n$ течет ток $I$. Соленоид наполовину заполнен средой с магнитной проницаемостью $\mu$. Найти магнитное поле $\vec{B}(\vec{r})$ и распределение молекулярных токов $i_m$.

Показать решение

Задача №73

Внутри бесконечно длинной трубы квадратного поперечного сечения с идеально проводящими стенками имеется тонкая перегородка, показанная на рисунке, по которой пустили ток с поверхностной плотностью $\vec{{i}}=i_0\vec{e}_{z},\ i_{0}=\const$.
1. Воспользовавшись векторным потенциалом $\vec{{A}}_{1,2}=A_{1,2}(x,y)\vec{e}_{z}$, найти распределение магнитного поля $\vec{{B}}_{1,2}(x,y)$ внутри трубы (3 б).
2. Найти уравнение семейства силовых линий $y=y(x,p)$, $p$ – свободный параметр, и представить их качественную картину (3 б).

Показать решение

Задача №71

Тонкостенная труба квадратного сечения с идеально проводящими стенками разделена плоской границей с поверхностным током $i_{z}=i(x)$, направленным вдоль оси z. В области 1 распределение магнитного поля задано векторным потенциалом $A_{1z}=A_{0}(x-a)y$. 1. Найти распределение векторного потенциала $A_{z2}(x,y)$ в области 2 (2 б). 2. Определить распределение тока $i(x)$ на границе (2 б). Указание: граница раздела не является идеальным проводником.

Показать решение